При применении катодной защиты выстроенной по традиционной схеме, распределение защитного потенциала вдоль трубопровода происходит неравномерно. Для того, чтобы создать достаточный уровень защиты на всём протяжении трубопровода, в дренажной точке его необходимо делать с очень большой избыточностью. И тут мы сталкиваемся с альтернативой, или уменьшать избыточность защиты в дренажной точке, тем самым уменьшая зону защиты установки, или нерационально использовать энергию, увеличивая избыточность защиты в дренажной точке. Простым выходом из данной ситуации является использование схемы защиты в которой применяются протяженные или распределенные аноды.
На рисунке 2.10 схематически изображено применение протяженных анодов. В качестве анода используется специальный кабель. Кабель состоит из центрального проводника и покрыт специализированной электропроводящей оболочкой изготовленной из материала - эластомер. Проложенные вдоль всей длины трубопровода, протяжённые аноды могут считаться самым рациональным решением в данной ситуации.
Технологическая схема системы ЭХЗ
Рис.2.10. Технология применения протяженных анодов в системе ЭХЗ.
1 – десяти киловатная воздушная линия, проходящая вдоль трассы трубопровода,
2 - станция катодной защиты мачтового типа, использующая преобразователь малой мощности,
3- колонка для контроля и измерений,
4 - анодное заземление протяжённого типа,
5 – непосредственно трубопровод,
6 – подключённый к трубе контрольный вывод .
Применение электрохимической защиты построенной на распределенных анодах, равномерно распределяет защитный потенциал вдоль трубопровода, увеличивая протяжённость зоны защиты по сравнению со схемой , когда аноды являются сосредоточенными.
Использование ЭХЗ с применением распределенных анодов вполне можно сочетать с применением других схем размещения анодных заземлителей.
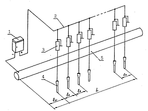
На рисунке 2.11, в качестве примера, приведена простейшая схема, где анодные заземления равномерно установлены на протяжении газопровода.
Рис. 2.11 Технология применения анодных заземлителей для целей электрохимической защиты, с равномерным распределением последних на протяжении трубопровода.
1 - преобразователь УКЗ,
2 - воздушная линия, по которой течёт постоянный ток,
3 – резисторы для регулировки напряжения,
4 - анодные заземлители,
5 – трубопровод, который необходимо защитить.
На рисунке 2.12 показано использование комбинированной схемы, при которой защита созданная с помощью анодных заземлений, дополняется заземления в тех местах, где защитный потенциал снижен.
Рис. 2.12. Технология применения анодных заземлителей для целей электрохимической защиты расположенных комбинированно.
1- главное анодное заземление, построенное по сосредоточенной схеме,
2- расределенное анодное заземление, установленное дополнительно в месте снижения защиты,
3 - резисторы для регулировки напряжения,
4 - установка катодной защиты,
5 - воздушная линия, по которой течёт постоянный ток,
6 - трубопровод, который необходимо защитить.
Регулировочные сопротивления служат для изменения тока, протекающего в анодных заземлениях, что позволяет провести настройку и регулировку защитного потенциала. Помимо регулировочных сопротивлений могут использоваться другие устройства обеспечивающие изменение тока в нужных пределах.
В том случае, если схема заземления построена по принципу многих заземлителей, можно осуществлять регулировку защитного тока путём изменения числа включенных заземлителей.
Обычно при монтаже заземлителей, расположенных близко к преобразователю, используют заземлители с более высоким переходным сопротивлением.